Разрядник РДИП-10-4-УХЛ1
- Вес: не более 2,7 кг
- Длина и диаметр: 420мм х 120мм
- Габариты упаковки: 420мм х140мм х265мм
Основные параметры разрядника РДИП-10-4-УХЛ1
Разрядник РДИП-10-4-УХЛ1 предназначен для защиты высоковольтных линий напряжением 6, 10 кВ от индуктированных грозовых перенапряжений, которые составляют подавляющую долю от общего числа грозовых перенапряжений, способных приводить к перекрытиям изоляции.
Технические характеристики разрядника РДИП-10-IV-УХЛ1
| Класс напряжения |
10 кВ |
| Длина перекрытия по поверхности |
78 см |
| Внешний искровой промежуток |
2-4 см |
| Импульсное 50%-ое разрядное напряжение, не более
на положительной полярности на отрицательной полярности |
|
| Напряжение координации с изолятором ШФ10-Г |
300 кВ |
| Многократно выдерживаемое внутренней изоляцией
импульсное напряжение, не менее |
50 импульсов
|
| Выдерживаемое напряжение промышленной частоты, не менее
в сухом состоянии под дождем |
|
| Многократно выдерживаемый импульсный ток 8/20 мкс, не менее |
20 импульсов
|
| Масса разрядника
|
2,3 кг |
| Срок службы, не менее |
30 лет |
Варианты установки РДИП-10-4-УХЛ1 на разные типы опор
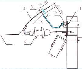
Разрядник РДИП-10-4-УХЛ1 на промежуточной опоре со штыревым изолятором ШФ10 |
Разрядник РДИП-10-4-УХЛ1 на промежуточной опоре со штыревым изолятором ШФ20 |
Разрядник РДИП-10-4-УХЛ1 на промежуточной опоре с подвесными стеклянными изоляторами |
Разрядник РДИП-10-4-УХЛ1 на промежуточной опоре с подвесными полимерными изоляторами |
Разрядник РДИП-10-4-УХЛ1 на анкерной опоре на крайней фазе |
Разрядник РДИП-10-4-УХЛ1 на анкерной опоре на средней фазе |
Разрядник РДИП-10-4-УХЛ1 на двухцепной анкерной опоре |
Разрядник РДИП-10-4-УХЛ1 на игловой промежуточной опоре. |
